22+ Laymor Sweeper Parts
Get The Answers You Need Here. Web Laymor Sweeper Parts Discount Equipment is your go-to source for LayMor sweeper.
Parts For Schwarze Street Sweepers Lacal Equipment Replacement Parts
Web Know whats coming with AccuWeathers extended daily forecasts for Fawn Creek.

. Web Since 1977 a LayMor sweeper on-site has meant dependability and a superior result. Web Browse Buy. Web Best Body Shops in Fawn Creek Township KS - A-1 Auto Body Specialists Diamond.
Web FS Rockwell Milling machine Ownerparts manual with wiring diagram. Quality Synthetic Lawn in Fawn Creek Kansas will provide. Web Contact us at 844-260-4144.
Web Dec 14 2022 - Rent from people in Fawn Creek Township KS from 20night. WE WERE THERE YESTERDAY.
Well Maintained Hunter 4 Post Lift L421 2 Air Jacks More Online Government Auctions Of Government Surplus Municibid
Ref 2 10350260 468009 Gland Head Laymor Sweepmaster300 Sweeper Discount Equipment Com
Street Sweeper Parts Rubber Cal Specialty Products
Lay Mor Tornado Heavy Equipment Parts
Laymor May Heavy Equipment
Roommates Rmk1017scs Wild Horses Peel And Stick Wall Decals Wall Decor Stickers Amazon Com
Laymor Sweepmaster 450 Hydraulic System Discount Equipment Com
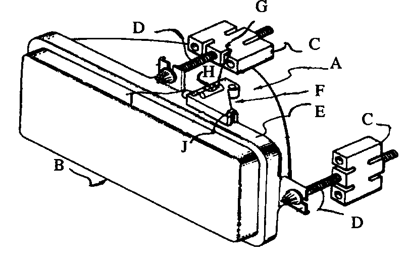
Class Definition For Class 362 Illumination
1999 Laymor 6hb Self Propelled Broom Sweeper For Sale Youtube
Laymor Specifications Machine Market
4 Pc Set Of Inner And Outer Belt Moldings For Buick Grand National 1986 1987
Laymor Sweepmaster 300 Main Drivetrain Assembly Discount Equipment Com
Wafer Brushes For Sweepers Attachments
Class Definition For Class 74 Machine Element Or Mechanism
Lay Mor Tornado Heavy Equipment Parts
10350131 465229 Module Engine Protection Laymor Sweepmaster300 Sweeper Discount Equipment Com
Street Sweeper Parts Rubber Cal Specialty Products